
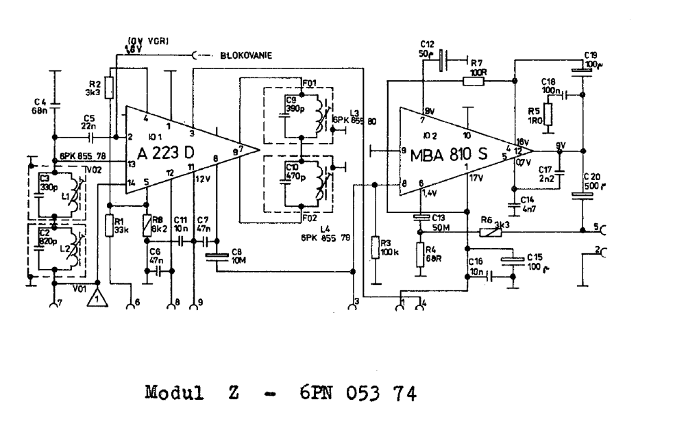
Schéma zesilovače z TV Tesla Color 423 nebo 430
Zdravím všechny,
chtěl jsem se zeptat, jestli někdo neví, kde sehnat schéma zesilovače pro televizi Tesla Color 423 nebo 430 - údajně mají stejný typ zesilovače. Díky za případnou radu 
nevím, jestli je tenhle stejný, ale schema obvykle není potřeba. Stačí vyměnit všechny elyty.
na té desce, co mám, právě není MBA ale A2030V, takže to as inebude ono
No a v čem je problém? TDA2030 potřebuje kolem sebe asi celkem pět součástek, zapojení je v datasheetu.